
手机购
更方便
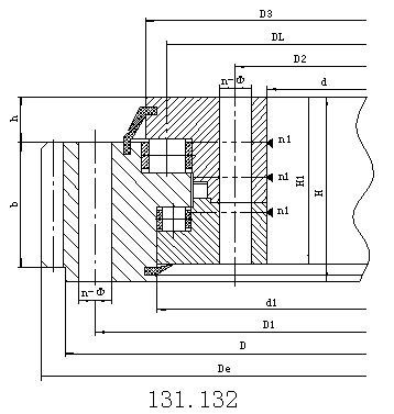
13系列无齿式回转支承
结构特点、性能、适用范围
三排滚柱式回转支承有三个座圈,上下及径向滚道各自分开,使得每一排滚 柱的负载都能确切地加以确定。能够同时承受各种载荷,是四种产品中承载能力很大的一种,轴、径向尺寸都较大,结构牢固,特别适用于要求较大直径的重型机 械,如斗轮式挖掘机、轮式起重机、船用起重机、港口起重机、钢水运转台及大吨位汽车起重机等机械上。
回转驱动通常由蜗杆、回转支承、壳体、马达等部件构成。由于核心部件采用回转支承,因此可以同时承受轴向力、径向力、倾翻力矩。 其形式很多,但结构组成基本大同小异。
联系我们
扫一扫查看更多信息